黄炜信 湖南日报·新湖南客户端 2025-12-30 22:06:32
机构普遍认为12月行情赚钱效应不明显,不过,侃财君发现,近期不少ST股涨势不错。
拿*ST熊猫来说,前8个交易日录得5个涨停板。然而,形势急转直下,30日,*ST熊猫发布公告,收到中国证监会下发的《立案告知书》,因公司涉嫌信息披露违法违规被立案,涨势陡停。
(*ST熊猫八天五涨)
红火的年底ST行情
与被立案形成鲜明对比的是*ST熊猫的股价异动。
12月下旬以来,*ST熊猫的交易行情异常红火:12月18日至29日8个交易日内,*ST熊猫斩获5个涨停板,区间累计涨幅达30.95%。12月29日,*ST熊猫收于涨停价11元/股,总市值18.26亿元。直至被立案,才封住涨势;今天一开盘,*ST熊猫跌停,报10.45元,总市值17.35亿元。
(*ST熊猫发布公告)
纵观大盘,ST股在年底出现了一波行情。12月以来,ST板块累计涨停个股多达70多只。其中,*ST铖昌涨停13次,*ST宁科涨停9次,*ST建艺涨停8次,*ST亚振涨停7次,*ST东易、*ST正平、*ST松发、*ST云网、*ST熊猫、*ST宇顺等分别涨停5次。
市场人士表示,临近年底,市场会博弈那些有重组计划或正在推进重整的ST公司能够通过成功“保壳”而避免退市。这种ST股在年末的暴涨,通常出自高风险偏好的资金进行的高风险博弈。对于绝大多数普通投资者而言,并非价值发现的场所。
曾是夜空中闪亮的“星”
说回*ST熊猫,其前身是浏阳花炮股份有限公司,2001年上市,一度是行业标杆。作为国内烟花行业唯一的上市公司,曾被誉为“烟花第一股”。
2008年,熊猫烟花在国内迎来品牌爆发期。参与了北京奥运会的烟花燃放,此后相继又完成了2010年上海世博会开幕式主会场焰火燃放、2010年广州亚运会亚(残)会开闭幕式焰火燃放,并获得了2012年阿尔及利亚庆祝独立50周年焰火燃放项目的独家承办资格。
产品在国内外市场所受到的认可,助力熊猫烟花的业绩增长。2008年至2012年,熊猫烟花营收从1.73亿元持续上升至2.55亿元。
一场“烟花易冷”的考验
此后,行业收紧,熊猫烟花跨界加码互联网金融业务,变身熊猫金控后,也出现过一段业绩红火的日子,随后负面缠身,回归主业成了最可行的自救之路。
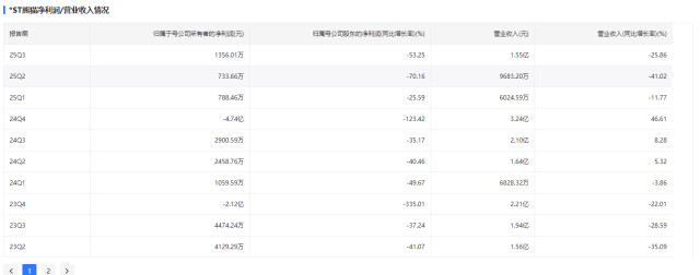
然而,近几年,公司业绩波动,亏损金额着实不小。公司2022年、2023年、2024年和2025年前三季度营业收入分别为2.83亿元、2.21亿元、3.24亿元和1.55亿元;归母净利润方面,2023年亏损2.12亿元,2024年亏损4.74亿元。今年三季度,营收和净利润双降。
(*ST熊猫报告期内业绩情况)
此外,*ST熊猫公告称,因公司2024年度财务报表被出具了无法表示意见的审计报告,公司股票已被实施退市风险警示;因公司 2024年度内部控制被出具了否定意见的审计报告,根据“最近一个会计年度内部控制被出具否定意见审计报告”的规定,公司股票继续被实施其他风险警示。
如公司2025年度不符合相关规定中撤销退市风险警示的情形,公司股票将被终止上市。也就是说,*ST熊猫处在终止上市边缘。
到底是幸运摘星还是黯然退场,我们也许不能预测个股的最终结果,但能做的是,看懂ST行情的底层逻辑,以价值投资理念,理性参与资本市场。
责编:刘乐
一审:刘乐
二审:黄利飞
三审:李伟锋
来源:湖南日报·新湖南客户端
我要问

下载APP
报料
关于
湘公网安备 43010502000374号